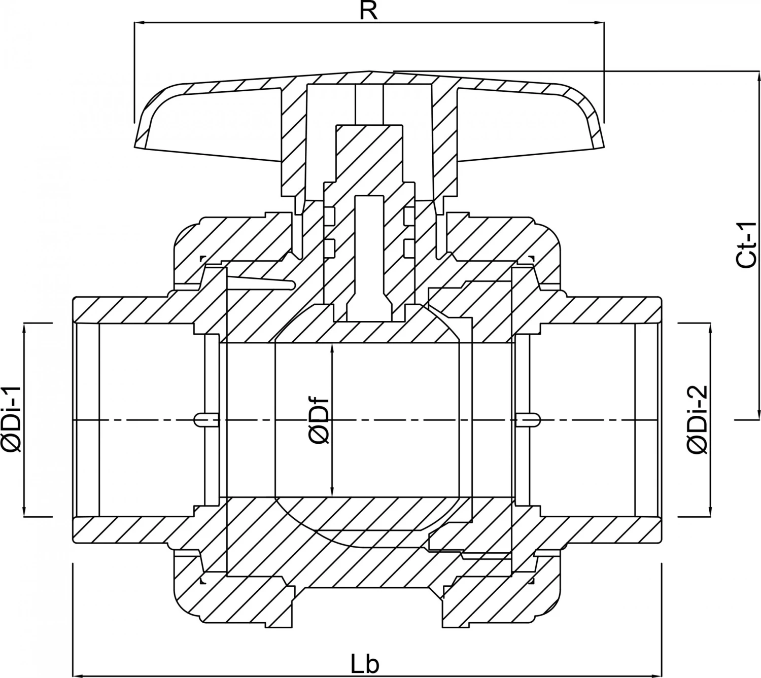
De PVC-U Profec Kogelkraan met dubbele wartel, type Safe 600 heeft een lijmmof verbinding en een maximale werkdruk van 16 bar. Kogelkranen uit de Profec Safe-serie zijn uitgerust met een geborgde kogel. Afdichtingsmateriaal Hytrel / EPDM. De afsluiters zijn verkrijgbaar in diverse maten. Alle lijmverbindingen zijn volgens EN-ISO 1452-3.
Let op: afhankelijk van de beschikbaarheid wordt deze kogelkraan geleverd met een rode of blauwe kraan.
| Merk |
Profec |
|---|---|
| Verbinding |
Lijmmof |
| Materiaal |
PVC-U |
| Bediening |
Hendel |
| Materiaal hendel |
PVC-U |
| Kleur hendel |
Rood |
| Materiaal afdichting |
hytrel/EPDM |
| Maat |
63 mm |
| Werkdruk |
16 bar |
| EAN |
4019305286589 |












Beoordelingen
Er zijn nog geen beoordelingen.